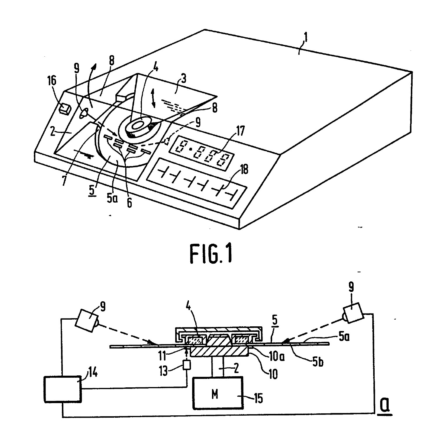
Equipment which enables the words inscribed on a Compact Disc to be read while the disc is being played
Equipment which enables the words inscribed on a compact disc to be read while the disc is being played by means of
stroboscopic techniques and phase correction.
EP0159090A1 – Equipment which enables the words inscribed on a compact disc to be read while the disc is being played
EP0164175A1 – Equipment which enables the words inscribed on a compact disc to be read while the disc is being played by means of stroboscopic techniques and phase correction.

